8 (925) 663-83-63Call-центр
пн-вс: 10:00-19:00
| N | Артикул | Название | Срок отгрузки | Цена | Купить |
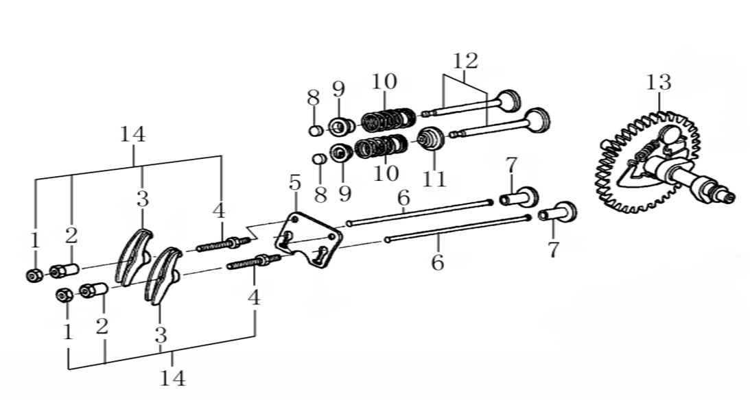
| 1 | 0200.025100 | Гайка стопорная | – | ||
| 1 | 0104.031900 | Гайка стопорная | – | ||
| 1 | 0104.013400 | Гайка стопорная | – | ||
| 2 | 0200.025200 | Гайка регулировочная | – | ||
| 3 | 0200.025300 | Коромысло клапана | – | ||
| 4 | 0200.025400 | Шпилька крепления коромысла | – | ||
| 5 | 0200.025700 | Планка направляющая | – | ||
| 5 | 0104.013800 | Планка направляющая | – | ||
| 6 | 0200.025800 | Штанга толкателя клапана | – | ||
| 7 | 0200.025900 | Толкатель клапана | – | ||
| 8 | 0200.026100 | Колпачок клапана | – | ||
| 9 | 0200.026200 | Тарелка пружины клапана | – | ||
| 10 | 0400.235600 | Пружина клапана | – | ||
| 11 | 0104.014400 | Шайба опорная пружины клапана с маслосъемным кольцом (Wert G2500),аналог0400.234800 | – | ||
| 11 | 0200.026400 | Тарелка пружины клапана | – | ||
| 12 | 0200.025500 | Комплект клапанов (впускной + выпускной) | 720 р. | ||
| 12 | 0200.025600 | Комплект клапанов (впускной + выпускной) | – | ||
| 13 | 0200.026500 | Вал распределительный | – | ||
| 14 | 0400.237400 | Коромысло клапана в сборе | – | ||
| 14 | 0104.014700 | Коромысло в сборе 140450022-0001 К 6500L аналог 0400.237400 | – |
| Найдено товаров: 20 |
|
8 (925) 663-83-63 Call-центр
пн-вс: 10:00-19:00
| Введите номер заказа |
| Введите номер своего заказа, что бы узнать его текущий статус. Что бы получить доступ к расширенным функциям, пройдите не сложную регистрацию. Зарегистрироваться |